Полиэтиленовые трубы - производятся из первичного сырья ПЭ100 (полиэтилена низкого давления), он нашел обширное применение в промышленности из-за высокой стойкости к маловязким жидкостям. Поэтому эти трубопроводы стали повсеместно вытеснять стальные и чугунные трубы.
Эксплуатационные преимущества:- быстрый монтаж любого диаметра ПНД труб
- наличие допустимого угла отклонения
- отличная ремонтопригодность
- множество вариантов врезки под давлением.
НАЗНАЧЕНИЕ
ПНД трубы широко применяются при строительстве любых объектов инфраструктуры жилищно-коммунального хозяйства. Непосредственно для прокладки всевозможных коммуникаций:
- водоснабжение питьевое и пожарное
- газоснабжение - магистральное и абонентское
- электрификация - защитные полиэтиленовые трубопроводы
- ГВС и отопление - термостойкие PE-RT
- дренажные полиэтиленовые системы с перфорацией
- водоотведение - двухслойные типа Корсис
- проколы ГНБ - трубами ПНД с толстой стенкой.
МОНТАЖ ПНД ТРУБ
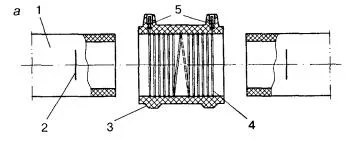
Пайка полиэтиленовых труб производится с использованием специального оборудования. Первый вариант - это стыковая сварка.

Аппараты для стыковой сварки могут работать как в ручном режиме, так и в автоматическом и полуавтоматическом режиме.
Второй - сварка с помощью электросварных фитингов, при этом используются:
электросварные муфты, отводы, тройники, переходы, седелки и полиэтиленовые краны.

